Kia Schaltplan Usa [view 31+] Rolex Yacht Master Rose Gold 37mm
Kia picanto. Kia sportage. [view 31+] rolex yacht master rose gold 37mm
kia schaltplan usa
Download PDF
If you are {looking for|searching about} Schalter Leuchtweitenregelung you've {came|visit} to the right {place|web|page}. We have 17 {Pics|Pictures|Images} about Schalter Leuchtweitenregelung like [32+] Elektrischer Schaltplan Kia Sorento, Kia Sportage - Schematische darstellungen - SPAS (Smart-Einparkhilfe) and also Kia Picanto - Fernbedienung für das Audio-System - Elektrische Anlage. {Read more|Here you go|Here it is}:
Kia sportage


[32+] elektrischer schaltplan kia sorento. Iveco daily. Schalter leuchtweitenregelung. Schematische darstellungen iats ansauglufttemperatursensor sportage
1995 KIA SPORTAGE workshop manual workshop/Repiar/wiring diagram
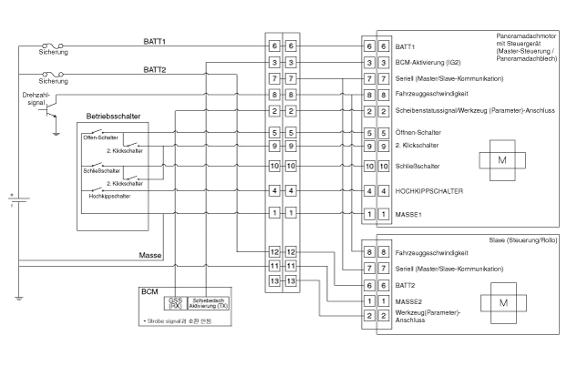
Kia Sportage - Schematische darstellungen - Panorama-Schiebedach
18 Auto-Ideen | fahrzeuge, autos, automobil
Kia Picanto - Lichtmaschine - Ladesystem
Kia Sportage - Smart Key-Einheit Schematische darstellungen

No comments:
Post a Comment